潛水排污泵不銹鋼自動耦合裝置結構圖
時間:2015/1/6 來源:浙江揚子江泵業有限公司
自動耦合裝置概述
一種潛水電泵出水法蘭與出水管路系統自動對接的自動耦合裝置,由潛水電泵出水法蘭、附加耦合法蘭和出水管座進口法蘭組成,在附加耦合法蘭和出水管座進口法蘭的兩側各有一對楔卡且楔點的位置在法蘭的水平中心線附近。當潛水電泵從水坑上方降落時,附加耦合法蘭兩側的楔卡和出水管座進口法蘭兩側的楔卡就卡到一起,在潛水電泵自重和楔卡斜面的作用下,兩個法蘭面緊緊地貼在一起,就好比兩個法蘭的兩側用兩個螺栓上緊了一樣,潛水電泵的水壓再大也不能推開法蘭面而大量漏水。當潛水電泵從水坑內往上提起來時,兩對楔卡能夠沿斜面方便的脫開,從而實現自動耦合裝置的功能。它可以在方便潛水電泵自動裝拆的同時,解決耦合的兩個法蘭之間大量漏水的問題,從而節約能源。
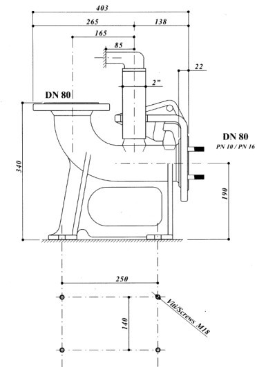
自動耦合裝置尺寸圖

自動耦合裝置性能參數
|
序號 |
型號 |
口徑(mm) |
序號 |
型號 |
口徑(mm) |
|
1 |
GAK-25 |
25 |
9 |
GAK-150 |
150 |
|
2 |
GAK-32 |
32 |
10 |
GAK-200 |
200 |
|
3 |
GAK-40 |
40 |
11 |
GAK-250 |
250 |
|
4 |
GAK-50 |
50 |
12 |
GAK-300 |
300 |
|
5 |
GAK-65 |
65 |
13 |
GAK-350 |
350 |
|
6 |
GAK-80 |
80 |
14 |
GAK-400 |
400 |
|
7 |
GAK-100 |
100 |
15 |
GAK-500 |
500 |
|
8 |
GAK-125 |
125 |
16 |
GAK-600 |
600 |
GAK型潛水排污泵自動耦合裝置優點:
1.使用自動耦合裝置后,安裝檢修方便。在沒有自動耦合裝置的情況下固定式安裝,如遇到水泵故障檢修人員需下水擰開螺絲,起吊水泵進行檢修,或用其他小泵把水抽完人下去檢修,如果水質很臟,人就很難下得去,這時檢修就遇到了很大困難。但裝了GAK型潛水排污泵的自動耦合裝置后,需要起吊時,人可以不需要下水擰開螺絲,直接提升水泵即可,檢修完畢后順著導軌下去就能實現水泵與管路的密封,從而水泵正常運行。小型的排污泵可以自由安裝,大型的排污泵一般都配有自動藕合裝置可以進行自動安裝,安裝及維修相當方便。
2. GAK型潛水排污泵的自動耦合裝置結構緊湊、占地面積小。排污泵由于潛入液下工作,因此可直接安裝于污水池內,無需建造專門的泵房用來安裝泵及機,可以節省大量的土地及基建費用。
GAK型潛水排污泵自動耦合裝置的組成:
GAK型潛水排污泵的自動耦合裝置,包括耦合器、耦合法蘭、導桿、上固定板,在耦合底座與耦合滑板的接觸面上開有環形凹槽,凹槽上緊密固定有軟密封墊。采用上述結構,使耦合滑板和耦合底座的耦合接觸面被環形密封凹槽密封牢固.不銹鋼耦合裝置|不銹鋼自動耦合裝置|潛水泵耦合器|污水泵耦合裝置
GAK型潛水排污泵自動耦合裝置一般根據使用環境的不同,我公司開發了鑄鐵型潛水排污泵自動耦合裝置和不銹鋼型潛水排污泵自動耦合裝置。自動耦合裝置導軌也可以定做成焊管、不縫鋼管、不銹鋼管。起吊時如需用到導鏈也可定制鋼制導鏈與不銹鋼導鏈。
感謝您訪問我們揚子江泵業的網站www.www.81198.cc,如有任何水泵疑問我們一定會盡心盡力為您提供優質的服務。
- 下一篇:DBY鋁合金電動隔膜泵材質分析
- 上一篇:離心泵機械密封材質選用











