FS型防爆臥式玻璃鋼離心泵
目錄
FS型臥式玻璃鋼離心泵特點
FS型臥式玻璃鋼離心泵結構簡單設計合理,標準化程度高,零件通用性,互換性強,拆卸檢修十分方便。接觸介質的零部件,采用聚乙烯醇縮丁醛改性酚醛玻璃纖維,經高溫模壓成形的酚醛玻璃鋼制件。產品具有輕質、高強、不變形、耐溫、耐腐蝕等優良性能。在防腐方面可部分替代含鋁不銹鋼,鈦及鈦合金等貴重金屬。軸封:采用WB2型外裝式F4波紋機械密封,密封性能可靠,使用時間長。泵的傳動和旋轉方向:泵通過爪型彈性聯軸器,由電動機直接驅動,從電動機端看泵為順時針方向旋轉。
FS型臥式玻璃鋼離心泵產品用途
玻璃鋼離心泵主要用于石化、冶煉、染料、印染、農藥、制藥、稀土、化肥等行業,輸送不含固體顆粒,不易結晶,溫度不高于100℃的各種非氧化性酸(鹽酸、稀硫酸、甲酸、醋酸、丁酸)等腐蝕介質必不可少的理想設備。
FS型臥式玻璃鋼離心泵型號意義
FS型臥式玻璃鋼離心泵產品參數
|
型 號
|
流 量Q
|
揚 程
m |
轉 速
r/min |
電機功率
KW |
|
|
m3/h
|
L/s
|
||||
|
FS25×25-15
|
2.8
4 5.2 |
0.78
1.11 1.44 |
16
15 13.5 |
2900
|
0.75
|
|
FS40×32-20
|
4.4
6.3 8.3 |
1.22
1.75 2.31 |
21
20 18 |
2900
|
2.2
|
|
FS40×32-32
|
4.4
6.3 8.3 |
1.22
1.75 2.31 |
33
32 30 |
2900
|
3
|
|
FS50×40-16
|
4.36
7.2 9.72 |
1.20
2.00 2.50 |
16
13 10 |
2900
|
2.2
|
|
FS50×40-20
|
8.8
12.5 16.3 |
2.44
3.47 4.53 |
21.5
20 17.8 |
2900
|
3
|
|
FS50×32-35
|
8.8
12.5 16.3 |
2.44
3.47 4.53 |
35
32 30 |
2900
|
4/5.5
|
|
FS65×50-20
|
17.5
25 32.5 |
4.86
6.94 9.03 |
21.5
20 18 |
2900
|
3/4
|
|
FS65×50-25
|
25
35 45 |
7
9.7 12.5 |
26
25 22 |
2900
|
4/5.5
|
|
FS65×50-32
|
17.5
25 32.5 |
4.86
6.94 9.03 |
34.4
32 27.5 |
2900
|
5.5/7.5
|
|
FS80×65-35
|
30
45 55 |
8.3
12.5 15.1 |
35
32 28 |
2900
|
7.5/11
|
|
FS80×65-35A
|
25
35 45 |
7
9.7 12.5 |
26
25 22 |
2900
|
5.5/7.5
|
|
FS80×65-30
|
30
49 60 |
8.3
13.6 16.7 |
30
24 22 |
2900
|
7.5
|
|
FS100×80-35
|
56
92.8 110 |
15.5
25.5 30.5 |
35
29 25 |
2900
|
15/22
|
|
FS100×80-50
|
70
100 130 |
19.4
27.8 36.1 |
54
50 42 |
2900
|
22/30
|
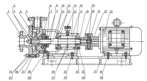
FS型臥式玻璃鋼離心泵結構示意圖
| 序號 | 名稱 | 數量 | 材料 | 序號 | 名稱 | 數量 | 材料 | 序號 | 名稱 | 數量 | 材料 |
| 1 | 泵殼端蓋 | 1 | 玻璃鋼 | 14 | B-25油杯 | 1 | 組合件 | 27 | 泵體墊片 | 1 | 氟橡膠 |
| 2 | 葉輪并帽 | 1 | 模壓玻璃鋼 | 15 | 機架 | 1 | HT20-40 | 28 | 六角螺母 | 4 | A3 |
| 3 | 防腐墊片 | 1 | 聚四氟乙稀 | 16 | 泵軸壓套 | 1 | 20號鋼 | 29 | 墊圈 | 4 | A3 |
| 4 | 葉輪 | 1 | 玻璃鋼 | 17 | 后滾動軸承 | 1 | 組合件 | 30 | 六角螺母 | 1 | A3 |
| 5 | 泵體 | 1 | 玻璃鋼 | 18 | 軸承壓圈 | 1 | HT20-40 | 31 | 油標 | 1 | 有機玻璃 |
| 6 | 壓緊螺套 | 1 | 玻璃鋼 | 19 | 泵聯軸節 | 1 | 玻璃鋼 | 32 | 六家螺栓 | 4 | A3 |
| 7 | WB2型機械密封 | 1 | 組合件 | 20 | 彈性塊 | 1 | 橡膠 | 33 | 墊圈 | 4 | A3 |
| 8 | 軸套 | 1 | 玻璃鋼 | 21 | 圓螺母 | 1 | 45號鋼 | 34 | 后軸承蓋 | 1 | HT20-40 |
| 9 | 防腐墊片 | 3 | 聚四氟乙稀 | 22 | 電機聯軸節 | 2 | 玻璃鋼 | 35 | 六家螺栓 | 8 | 35號鋼 |
| 10 | 泵軸 | 1 | 45號鋼 | 23 | 電動機 | 1 | 結合部 | 36 | 墊圈 | 8 | A3 |
| 11 | 前軸承封蓋 | 1 | HT20-40 | 24 | 防腐螺母 | 16 | 模壓玻璃鋼 | 37 | 底座 | 1 | HT20-40 |
| 12 | SG油封蓋 | 2 | 耐油橡膠 | 25 | 防腐墊片 | 16 | 聚四氟乙稀 | 38 | 六家螺栓 | 4 | A3 |
| 13 | 前滾動軸承 | 1 | 組合件 | 26 | 雙頭螺柱 | 8 | A3 | 39 | 墊圈 | 4 | A3 |
FS型臥式玻璃鋼離心泵安裝尺寸
|
序號 |
型號 |
L |
L1 |
L2 |
L3 |
L4 |
La |
Lb |
H |
H1 |
吸入法蘭 |
排出法蘭 |
||||
|
Dg |
D1 |
n-d |
Dg1 |
D2 |
n-d1 |
|||||||||||
|
1 |
FS50×25-18 |
632 |
492 |
70 |
45 |
180 |
242 |
242 |
175 |
188 |
50 |
125 |
4-φ14 |
25 |
85 |
4-φ12 |
|
2 |
FS50×32-16 |
32 |
100 |
4-φ14 |
||||||||||||
|
3 |
FS50×40-20 |
675 |
535 |
248 |
248 |
40 |
110 |
4-φ14 |
||||||||
|
4 |
FS65×40-30 |
719 |
579 |
70 |
51 |
191 |
328 |
248 |
210 |
224 |
65 |
145 |
4-φ14 |
40 |
110 |
4-φ14 |
|
5 |
FS65×50-25 |
50 |
125 |
4-φ14 |
||||||||||||
|
6 |
FS80×50-35 |
719 |
579 |
70 |
51 |
191 |
328 |
248 |
210 |
224 |
80 |
160 |
4-φ18 |
50 |
125 |
4-φ14 |
|
7 |
FS80×65-30 |
235 |
65 |
145 |
4-φ14 |
|||||||||||
|
8 |
FS100×65-35 |
918 |
768 |
75 |
62 |
233 |
380 |
300 |
245 |
262 |
100 |
180 |
8-φ18 |
65 |
145 |
4-φ14 |
|
9 |
FS100×80-35 |
80 |
160 |
4-φ18 |
||||||||||||
安裝使用與維護
1、FS型玻璃鋼離心泵在安裝前根據選定泵型,按外形及安裝尺寸做好地腳基礎、安裝時根據管路位置的要求,盡量使安裝的位置便利管理和維修。
2、FS型玻璃鋼離心泵安裝的位置泵體如果高于液面,必須附裝灌液裝置。
3、FS型玻璃鋼離心泵起動前先將液體灌滿泵體后開車,嚴禁無介質運轉和倒轉,否則泵體內因缺泛液體冷卻而損壞機械密封。
4、停車時應開關液管閥門,避免液體倒流。
5、維修時,先拆下泵體,再松開機械密封螺釘,折下機械密封。
6、如果更換滾珠軸承或泵軸時,必須折下機架,松開前端軸承蓋4只螺釘,折下泵軸后端園螺母和聯軸節,將泵軸向前端方向打出即可,再后折下后端軸封蓋。
7、檢修和更換易損件后進行重新裝配時。
1)、先將前后軸承和油封分別裝在前后封蓋內,并將帶軸承的前封蓋裝在FS型玻璃鋼離心泵軸上,再將帶前軸承封蓋的泵軸裝在機架上。
2)、將軸承壓套套在泵軸上,再將帶軸承的后封蓋裝在泵軸及機架上。
3)、套好壓圈,裝好聯軸節和并緊固螺母。
4)、將機構密封動環套在泵軸上。
5)、把靜環裝在FS型玻璃鋼離心泵體內,并拼緊壓緊螺套。
6)、將帶靜環的FS型玻璃鋼離心泵體套在機架上,調試一下機械密封動靜環的配合(一般緊3-3.5mm)先將泵體拿下。
7)、將機械密封動環裝緊固定在泵軸上,再將泵體裝在機架上,用手在聯軸節上轉一下機械密封動靜環配合是否符合。
8)、將葉輪裝在泵軸上,并用四氟墊片調正好葉輪與泵停間隙(一般緊2-2.5mm之間)墊好防腐墊片,再并緊葉輪并帽,后墊好泵殼墊片,裝好泵蓋,擰緊防腐螺母。
9)、將裝好畢的泵斗裝在底板上,并調正好聯軸器的間隙和電動機軸線垂直。
10) 、FS型玻璃鋼離心泵注意平時保養,經常檢查泵運行是否平穩,有無異常震動,注意更換彈性塊,視油標補充軸承的潤滑油,定期更換機架中的潤滑油











